
在工業控制與廠務環境中,各廠牌設備間的訊號連接,常會遇到接地迴路干擾、共模電壓損毀設備,或是雜訊過大,導致系統不穩定的情況。為了解決這些問題並達成阻抗匹配,安裝「訊號隔離轉換器 (Isolator / Signal Transmitter)」是最簡單且最具經濟效益的解決方案。
針對常見的 4–20 mA 類比訊號傳輸,由於現場供電與儀表配置的不同,選擇合適的轉換器型號非常重要。以下我們整理了 基礎篇 :5大常見的訊號配線架構,與進階篇:特殊現場痛點的進階解決方案。
5大常見 4–20 mA 訊號傳輸配置與推薦型號
根據現場是否提供獨立電源、以及供電是由 PLC 端還是現場儀表端提供,我們可以將應用分為以下五種常見配置:
1. 四線式隔離器 (Four-wire Isolator)

2. 四線式隔離器-輸出24VDC電源 (Four-wire Isolator with 24VDC Supply)

3. 二線式隔離器-輸出端供電/雙通道(Two-wire Output Loop Powered Isolator with Dual-Channel)
- 應用場景: 適合空間有限的盤體,單一模組可同時接收兩組現場 4–20 mA 訊號,輸出端則由控制室的 PLC/DCS 負責提供迴路電源。
- 對應型號: B3VS/2-AA。

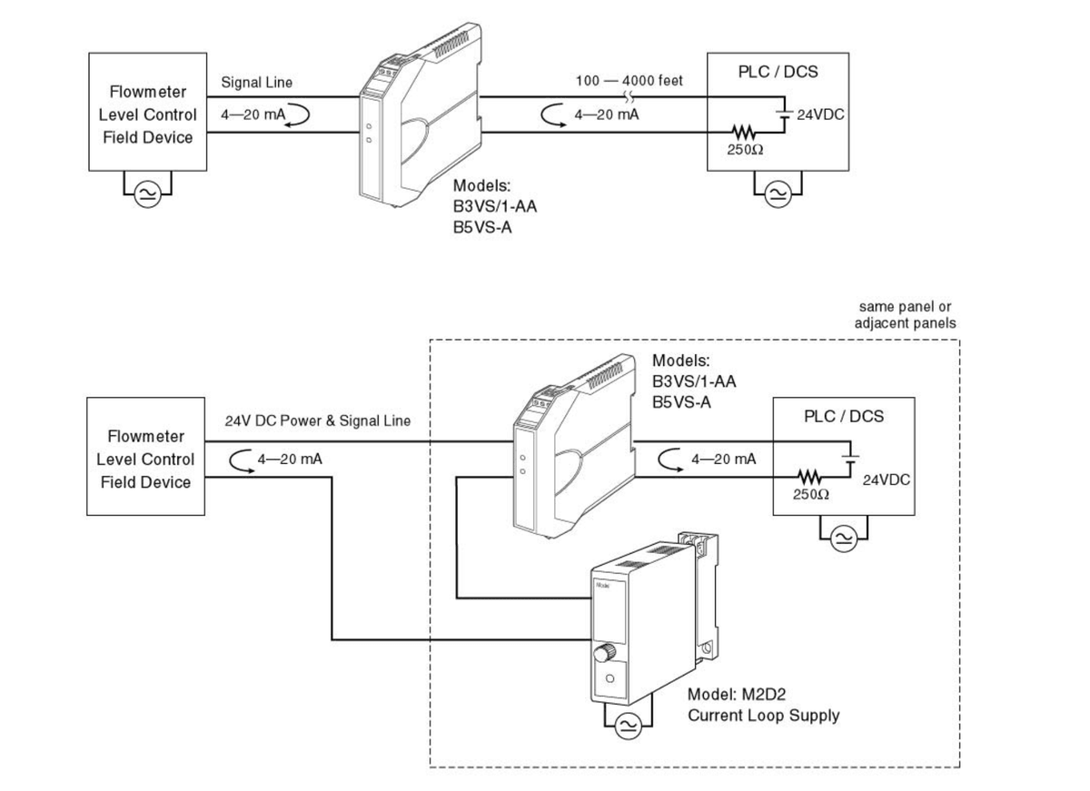
4. 二線式隔離器-輸出端供電/單通道(Two-wire Output Loop Powered Isolator with Single-Channel)

5. 二線式隔離器-輸入端供電(Two-wire Input Loop Powered Isolator)
- 應用場景: 轉換器本身不需要外加電源,直接在現場端送來的 4–20 mA 訊號迴路上,將隔離後的訊號送交 PLC。適用於無法在現場額外拉電源線的環境,體積小巧且降低成本。
- 對應型號: B3SN2 (雙通道)、M2SN。

原文出處 https://www.mgco.jp/service_w/application/page/EAP031015.html
